• Online only
Top link pin 31 8x112 mm cat 3 vaporma
  • Top link pin 31 8x112 mm cat 3 vaporma
  • Top link pin 31 8x112 mm cat 3 vaporma
  • Top link pin 31 8x112 mm cat 3 vaporma

Top link pin 31 8x112 mm cat 3 vaporma

15013833474153
Vapormatic
£49.59
Quantity
5 Items

Description
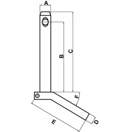
Top link pin 31.8x112 mm Cat.3 Vapormatic

Part number: K. VLK7019

EAN: 5035776664953

Unit: Art

A,D Pin outer diameter: 31.9mm

Category: 3

Total length of the pin: 151mm Length: 119mm

BDistance of the hole from the head: 119mm Hole diameter: 12mm

Quantity in package: 1 pc.

Product Details
Vapormatic
15013833474153
K. VLK7019
5 Items
New

Data sheet

Manufacturer
Vapormatic
Part Number
K. VLK7019