• Online only
Starter brush holder toyota engine 4y 5k
  • Starter brush holder toyota engine 4y 5k
  • Starter brush holder toyota engine 4y 5k

Starter brush holder toyota engine 4y 5k

15013855310113
£38.00
Quantity
5 Items

Description
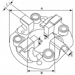
STARTER BRUSH HOLDER FOR FORKLIFT TOYOTA series 5FG / 6FG / 6FGF / 7FG / 7FGF / 8FG / 8FGFwith 4Y or 5K engine---FOR STARTER WITH REDUCERDRY CLUTCH------Electrical dataVoltage 12V

Dimensions A, Diameter . external in mm, 59.00

B, Dia. internal in mm, 33.00

C, Height in mm, 20.70

Number of brushes, 2

Product Details
15013855310113
WATA0157
5 Items
New

Data sheet

Manufacturer
Jazgot
Part Number
WATA0157
Original part number
132872
Replacement part numbers
132872
Product weight with unit packaging
1 kg
Trolley brand
Caterpillar, Clark, Hyster, Jungheinrich, Komatsu, Linde, Mitsubishi, Nissan, Still, Toyota, Yale, Inna