• Online only
Hatz series 1d lock sleeve fight 04004700
  • Hatz series 1d lock sleeve fight 04004700
  • Hatz series 1d lock sleeve fight 04004700

Hatz series 1d lock sleeve fight 04004700

15014280165850
Hatz
£44.84
Quantity
5 Items

Description
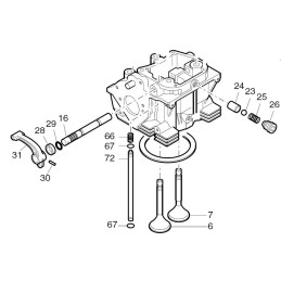
HATZ 1D series shaft lock sleeve 04004700 Item description:

Producer - German company HATZ.

Catalog number: 04004700

Item no. 24 from the catalog card (second photo)

Application: HATZ engine 1D30 1D40 1D41 1D50 1D60 1D81 1D90

Original part, brand new.

Product Details
Hatz
15014280165850
04004700
5 Items
New

Data sheet

Part Number
04004700
Original part number
04004700
Machine Type
Generator (unit), Compactor, Other
Machine Brand
Wacker, Other
Parts manufacturer
Hatz