• Online only
Hatz e75 e79 e780 valve protection 02252400
  • Hatz e75 e79 e780 valve protection 02252400
  • Hatz e75 e79 e780 valve protection 02252400

Hatz e75 e79 e780 valve protection 02252400

15014769216559
Hatz
£22.80
Quantity
5 Items

Description
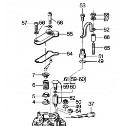
HATZ E75 E79 E780 valve protection 03171910 = 02252400 Item description:

Manufacturer - German company HATZ.

Catalog number: 03171910 = 02252400

Item no. 8 from the catalog card (second photo)

Application: HATZ E75 E79 E780 engines

Original protection, brand new .

Product Details
Hatz
15014769216559
02252400
5 Items
New

Data sheet

Manufacturer
Hatz
Part Number
02252400
Original part number
02252400
Machine Type
Generator (generator), Hauler, Compactor
Machine Brand
Atlas, Bobcat, Bomag, Wacker