Contact
Email:
info@allparts.uk
Sign in
Create an account
Welcome,
Sign in
or
Create an account
Cart
0
Products -
£0.00
There are no more items in your cart
Shipping
Total
£0.00
Check Out
Search
Home
Home
Engine and accessories
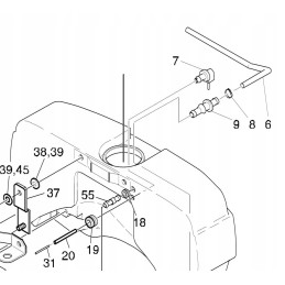
Hatz 1b20 1b30 tank vent 01534900
Home
Motors
Vehicle Parts & Accessories
Car Parts & Accessories
Engines & Engine Parts
Other Car Parts & Accessories
Transmission & Drivetrain
Air & Fuel Delivery
Starters, Alternators, ECUs & Wiring
Steering & Suspension
Exterior Parts & Accessories
Lighting & Bulbs
Interior Parts & Accessories
Air Conditioning & Heating
Exhaust & Emission Systems
Commercial Vehicle Parts
Vans/Pickups
In-Car Technology, GPS & Security
In-Car Entertainment
Business, Office & Industrial
Electrical Equipment & Supplies
Other Electrical Equipment & Supplies
Sports, Hobbies & Leisure
Sporting Goods
Waterskiing & Wakeboarding
Other Waterski & Wakeboarding
Electronic components
Passives
Capacitors
Electrolytic capacitors
Polymer and Hybrid Capacitors
Tantalum capacitors
Film Capacitors
Supercapacitors
MLCC capacitors
Ceramic capacitors
SMD capacitors - others
Paper capacitors
Motor capacitors
Audio components
Audio capacitors
Speakers
Audio resistors
Audio coils
Resistors
SMD resistors
THT Resistors
Resistor networks
Power resistors
Other Resistors
Heating resistors
Inductors
SMD inductors
SMD power inductors
THT inductors
SMD coils
EMI/EMC components
EMI/EMC ferrites
Knobs
Knobs for trimmers
Knobs for shaft potentiometers
Scales
Precision knobs for shaft potentiometers
Knobs for slide potentiometers
Potentiometers
Trimmers
Shaft potentiometers
Suppression filters
THT suppression filters
SMD suppression filters
Suppression filters - others
Varistors
THT varistors
SMD varistors
Encoders
Incremental type encoders
NTC thermistors
Measurement NTC thermistors
Protection NTC thermistors
Quartz crystals and filters
Ceramic filters and resonators
Quartz crystals
Quartz generators
Surge arrestors
SMD surge arrestors
THT surge arrestors
Power factor correction
Capacitors
Light sources
Miniature light sources
Light sources - LED modules
Optoelectronics
Light sources - LED ribbon
Optoelectronics
Light sources - lighting
Torches
Light sources - LED bars
Optoelectronics
Light sources - car lighting
Light sources - holders
Mechanical
Worm Gear Clamps and Fixing Clamps
Wires and Cables
Vibration Dampers
Bearings
Plain Bearings
Roller Bearings
Technical seals
Seals
Plastic Spacers
Insulating Spacer Sleeves
Plastic Standoffs
Plastic Pegs
PCB Brackets and Guides
Rivets
Feet and Wheels
Feet
Wheels
Knobs
Profiles and Holders
Accessories for Profiles
Holders for Sensors
Profiles for LED
Optoelectronics
Safety Elements
Safety pins
Locking pins
Indexing plungers
Circlips for shafts
Parallel keys
Screws
Bolts
Joints
Hinges
Locks and Clasps
Latches
Electromagnetic Locks
Clasps and Latches
Nuts
Fittings for ropes
Handwheels and pointers
Accessories for Hydraulic Systems
Breather Caps and Plugs
Connection Fittings
Engineering materials
Plastic sheets
Plastic rods
Mechanical Power Transmission
Shoulder Screws
Sliding and Transport Systems
Linear Guides
Support insulators
Clamping Levers
Metal Spacers
Threaded Insertions
Washers
Caps Plugs and Masking
Car Fasteners
Robotics and Prototyping
Micromotors and Accessories
DC Motors
Accessories for Micromotors
Servo Motors
Motor Control Modules
Other Modules
Adapters
Other Modules
Power Supply Modules
Converter Modules
Programmable Controllers
Robotics and RC
Accessories for Robotics and RC
Frames and Chassis
Sensor Modules
Other Sensors
Environmental Sensors
Position Sensors
Distance Sensors
Sets and Accessories
3D Printers and Accessories
Audio-Video Modules
Audio Modules
Enclosures
Enclosures - Accessories
Handles
Feet
Enclosures - Mounting Plates
Enclosures - Other Accessories
Enclosures - Holders
Edge Protective Covers
Enclosures - Caps
Multipurpose Enclosures
Din Rail Mounting Enclosures/Accessories
Din Rail Mounting Enclosures
Din Rail Mounting Enclosures-Accessories
Enclosures with Panel
Modular Aparatus Enclosures
Desktop Enclosures
Shielded enclosures
Junction boxes
Remote Control Enclosures
Enclosures for Devices with Display
Panel Mounting Enclosures
Wall Mounting Enclosures
Enclosures for Alarms and Sensors
Enclosures for Potting
Power Supplies Enclosures
19inch Enclosures
Racks & Cabinets
Racks & Rack Cabinet Accessories
Enclosures, Boxes & Cases
Standard Electrical
Battery Enclosures
Electrical Enclosure Accessories
Electrical Enclosures
Enclosures for Industrial Automation
Storage Boxes & Cases
Enclosures for Single Board Computing
Fuses and Circuit Breakers
Automotive Fuses
Other Car Fuses
Miniature Automotive Fuses
Car Fuses - Maxi
Standard Automotive Fuses
Circuit Breakers
Circuit Breakers
Installation accessories
Disconnectors
Surge Arresters
Fuseholders
Panel Mount Fuseholders
DIN Rail Sockets
Car Fuseholders
PCB Fuseholders
Fuseholders for Cable
Industrial Fuses
Fuses 10
Fuses 22x58mm
NH Fuses
D Fuses
Other Fuses
Fuses 14x51mm
Fuses 8x31mm
Miniature Fuses
Fuses 6
Fuses TE5
Fuses TR5
Fuses 5x20mm
Axial Fuses
Fuses 5x15mm
Fuses 5x25mm
Polymer PTC Fuses
SMD Polymer Fuses
THT Polymer Fuses
PTC Thermistors
SMD Fuses
SMD Fuses - Others
2410 SMD Fuses
1206 SMD Fuses
UM SMD Fuses
0603 SMD Fuses
SMD Fuses 8x4
SMD Fuses with Holder
OM SMD Fuses
PICO SMD Fuses
5x20mm SMD Fuses
Thermal Fuses
Office Equipment
Office Accessories
Paper Supplies
Writing Accessories
Fans
Cooling and Heating Systems
Fans Accessories
Heating Elements
DC Fans
LED Cooling
Temperature Indicators
Ventilation Systems for Cabinets
AC Fans
Fan Motors
Automation
Regulation and Control
Motor Control
Industrial Signalling Devices
Industrial Networks
Safety Switches
Counters
Limit Switches
Timers
Monitoring Relays
Building Automation
Regulators
Pressure switches
PLC Drivers
Programmable Relays
Sensors and Transducers
Magnets
Measuring Conv. and Signal Isolators
Inductive Sensors
Ultrasonic Sensors
Magnetic Sensors
Photoelectric Sensors
Sensors - Cables
Temperature Sensors and Transducers
Fiber-Optic Sensors
Thermostats
Humidity Sensors
Gas Sensors
Pressure Sensors and Transducers
Capacitive Sensors
Encoders
Level Sensors
Flow Meters
Tilt Sensors
Electric Motors
Embedded and IoT systems
Communication modules
RFID modules and readers
USB modules
RF modules
GSM antennas
GPS antennas
WiFi/Bluetooth antennas
IoT (WiFi/Bluetooth) modules
M2M (GPRS/LTE/5G) modules
RF antennas
Accessories for Communication Modules
Development Boards for Arduino
Arduino Solutions
Single board computers
Enclosure for Embedded Systems
Enclosures
Intelligent displays modules
Optoelectronics
Computer Accessories
Memory Cards
HDD/SSD Accessories
Pendrives
Peripherals
Computer Adapters
Computer Power Supply Units and UPSs
Power Sources
Socket Strips
Fuses and Circuit Breakers
Stands and Holders
Switches and Indicators
Microswitches
Microswitches SNAP ACTION
Microswitches TACT
Encoding Switches
Toggle Switches
Slide Switches
Panel Mount Switches
Panel Mount Accessories
Panel Mount Switches
Rocker Switches
Vandal Resistant Switches
Push Button Switches
Piezoelectric Switches
Keypads
Plastic Keypads
Push Button Switches
Standard Switches
Detect Switches
Door Switches
Keypad Switches
Key Switches and Locks
Control Stations
Rotary Switches
Dip-Switches
Foot Switches
Cam Switches
Indicators
Neon Indicators
Optoelectronics
LED indicators
LED Panel Mount Indicators
LED PCB indicators
LEDs
SMD LEDs
Plants growth LED
Power LEDs
THT LEDs
UV LEDs
Special effect LED's
IR LEDs
LED Kits
LEDs accessories
LED Power Supplies
Others LEDs Accessories
Optocouplers
Optocouplers - analog output
Optocouplers - others
Optotriacs
Optocouplers - digital output
Photoelements
Photodiodes
Phototransistors
IR receiver modules
Photoresistors
Displays
LED displays
Displays - accessories
LCD displays
OLED displays
TFT displays
Laser elements
Laser diodes
Laser modules
Transformers and Ferrite Cores
Toroidal Transformers
Transformers with Fastening
PCB transformers
Coil formers and accessories
Ferrite Cores
Current Transformers
Safety Transformers
Autotransformers
Power Sources
Converters
DC/DC Converters
PCB AC/DC converters
Power Supplies
Desktop Power Supplies
Din Rail Mounting Power Supplies
Built-in Power Supplies
Open Frame Power Supplies
Plug-in Power Supplies
Car Power Supplies and Converters
Laptop Power Supplies
Batteries
Rechargeable Batteries
Chargers
Photovoltaic Modules
Sound Sources
Sounders
Piezoelectric signallers
Electromagnetic Sounders
Panel Sound Signalling Devices
Microphones and Headsets
Workplace Equipment
Antistatic Protection
Static Protection-Personal
ESD Office Supplies
ESD Bags and Foils
ESD Boxes
Tapes and Labels
Tools
Wrenches
Screwdrivers
Pliers
Crimping Tools
General Purpose Tools
Glue Guns
Threading Dies and Taps
Drills
Screwdriver Bits
Handles
Screwdriver Bits Sets
Power Tools & Accessories
Measuring Tools
Inspection Tools
Tweezers
Strippers for wire & cable
Repair and Construction Tools
Industrial and Workshop Lighting
Abrasive materials
Tool Sets
Pneumatic Tools and Accessories
Garden Tools
Tools and Acc. for Working at Height
Storage
Printers and Markers
Packing
Containers and Boxes
Warehouse Devices
Measuring Accessories
Test Leads
Banana Sockets
Banana & Fork Plugs
Probes - Test Plugs
Laboratory Connectors - Others
Crocodile Clips
Contact Probes
Test hooks
Laboratory Clamps
Chemical products
Tapes
Heat conductive compounds
Marker pens
Soldering and Welding Equipment
Solders
Soldering stations - accessories
Auxiliary soldering tools
Soldering tips & nozzles
Soldering irons and guns
Soldering Devices & Exposure Units
Soldering fume extraction systems
Dispensers & accessories
Desoldering wicks
Soldering & desoldering stations
Measuring Instruments
Testers and Meters For El. Installations
Panel Meters
Oscilloscopes and Scopemeters
Meters of environmental conditions
Meters - Accessories
Digital Multimeters
LAN and Telephone Networks Testers
Meters and Clamp Probes
Laboratory instruments
Laboratory Power Supplies
Health and Safety
Warning and Informations
Personal Protection
Health and Safety - Others
PCB prototyping & production
Copper laminates
Universal PCBs
Cleanroom
Clothing
Wires and Cables
Conduits and Insulating Sleeves
Protective tubes
Conduits accessories
Polyester conduits
Electro Insulation tubes
Wiring ducts
Cables
Copper Braids
Single Core Cables
Data Transmission Cables
Heat resistant cables
Coaxial Cables
Audio-Video Cables
Car Instalation Cables
Ribbon Cables
Power Cords
Test Leads
Silicone Cables
Fire Performance Cables
Cables for Power Chains
Multicore Cables
Spiral Cables
Coil Wires
Cables - Accessories
Cable Ties and Holders
Wire Markers
Cable Holders
Glands and Grommets
Cable Chains
Cable Assemblies
Power Supply Cords
USB cables and adapters
RJ45 Cables
Audio - Video Cables
Computer cables and adapters
Ribbon Cables with IDC Connectors
Coaxial Assemblies
HDMI
Fibre Optic Patchcords and Pigtails
Monitor cables and adapters
Wire-To-Board Cable Assemblies
Telephone Cables Assemblies
Relays and Contactors
Relays
Solid State Relays
Electromagnetic Relays
Installation Relays
Contactors
Contactors - Main modules
Contactors -Installation Modular
Contactors - Accessories
Car Audio
Heat Shrink Tubes
Wires and Cables
Car Antennas
Radio Car Antennas
Car antennas plugs and adapters
CB Car Antennas
Hands free kit cables
Car Power Accessories
Adapters
Speaker Adapters
Car Speakers
Acoustic Accessories
Plastic Mounting Accessories
MDF Mounting Accessories
Frames
Facia Plates
Interfaces
Aux Adapters
Professional Electronic components
Car Audio Accessories
Connectors
Housings and terminals for Electronic components
Speakers Grilles
Front Panel Holders
Radio Release Keys
Car Holders
Pneumatics and Hydraulics
Pneumatics
Connectors and tubing
Air Equipment
Pneumatics accessories
Vacuum Products
Valve and Manifolds
Semiconductors
Integrated circuits
Peripheral integrated circuits
Memories - integrated circuits
Analog and mixed integrated circuits
Integrated circuits - others
Microcontrollers and Microprocessors
Logic integrated circuits
Voltage regulators - integrated circuits
RTV - audio integrated circuits
Programmers and erasers
Programmers
Semiconductors - accessories
Heatsinks
Heatsinks - equipment
Standard DIP sockets
Precision sockets
PLCC sockets
Discrete semiconductors modules
IGBT modules
Thyristor modules
Transistors
Bipolar transistors
Unipolar transistors
IGBT transistors and modules
Triacs
Diodes
Universal diodes
Zener diodes
Transil diodes
Schottky diodes
Diode modules
Development kits
Development kits for data transmission
Development kits - others
Development kits - accessories
Add-on boards
Microchip development kits
STM development kits
Bridge rectifiers
Single phase bridge rectifiers
Three phase bridge rectifiers
Thyristors
Single thyristores
Diacs
Discrete Semiconductors
Thyristors
Bipolar Transistors
Schottky Diodes & Rectifiers
TRIACs
Bridge Rectifiers
TVS Diodes
IGBTs
Zener Diodes
Switching Diodes
MOSFETs
JFETs
Darlington Pairs
Varactor Diodes
Diodes & Rectifiers
Power Management ICs
Motor Driver ICs
AC-DC Converters
PWM
Buck Converters
Power Switch ICs
DC-DC Power Supply Modules
Voltage Supervisors
Gate Drivers
Voltage Regulators
DC-DC Converters ICs
Voltage References
Power Factor Correction
Voltage Controllers
Boost Converters
Battery Management
Communication & Wireless Module ICs
RF Modules
Wi-Fi Modules
Bluetooth Modules
RF ICs
Interface ICs
I/O Expanders
CAN Interface Ics
LVDS Interface Ics
Ethernet Interface Ics
USB Interface ICs
Line Interface ICs
UART
Sensor ICs
Temperature & Humidity Sensor ICs
Pressure Sensor ICs
Motion Sensor ICs
Proximity Sensor ICs
Current Sensor ICs
Environmental Sensor ICs
Colour & Light Sensor ICs
Data Converters
Analogue Front End
Digital to Analogue Converters
Analogue to Digital Converters
Digital Potentiometers
Amplifiers & Comparators
Current Sensing Amplifiers
Comparators
Op Amps
Instrumentation Amplifiers
Audio Amplifier ICs
Clock, Timing & Frequency ICs
Clock Buffers
Clock Drivers & Distribution
Real Time Clocks
Timer Circuits
Clock Synthesizers
Audio & Video ICs
Audio & Video Encoders & Decoders
Chip Programmers & Debuggers
Chip Programmers
Debuggers & In-Circuit Emulators
Processors & Microcontrollers
Microcontrollers
System-On-Chips
Microprocessors
Security & Authentication Chips
Logic ICs
Latch ICs
Bus Transceivers
Multiplexer & Demultiplexer ICs
Counter ICs
Translator ICs
Encoder & Decoder ICs
Buffers
Inverters ICs
Flip Flop ICs
Logic Gates
Monostable Multivibrators
Bus Switches
Memory Chips
EEPROM
FRAM Memory
Flash Memory
SRAM
Programmable Logic ICs
CPLDs
Integrated Circuits - ICs
Embedded Processors & Controllers
Memory ICs
Switch ICs
Logic ICs
Optocouplers
Equalisers
Interface ICs
Multimedia ICs
Security ICs
Programmable Logic ICs
Active Filter
Amplifier ICs
Data Converter ICs
Audio ICs
Clock & Timer ICs
Communication & Networking ICs
Counter ICs
Digital Potentiometer ICs
Driver ICs
Power Management ICs
Wireless & RF Integrated Circuits
Wireless & RF Semiconductors
Wireless & RF Integrated Circuits
Transistors RF
PIN Diodes
RF Circulators
RF Isolators
Memory ICs
EEPROM
NOR Flash
EPROM
SRAM
Memory Modules & Memory Cards
F-RAM
Memory IC Development Tools
DRAM
NAND Flash
MRAM
Memory Controllers
eMMC
NVRAM
Multichip Packages
Storage
FIFO
Engineering Development Tools
Assortment Kits
Analogue & Digital IC Development Tools
Communication Development Tools
Connectors
Push-on connectors and cable terminals
Solder terminals PCB mount
Bootlace ferrule and butt splice
Non-insulated terminals
Insulated terminals
Signal connectors
Raster signal connectors
Pin headers
IDC connectors
MTA-100 connectors 2
FFC/FPC connectors
CE100 connectors 2
CE156 connectors 3
Micro-Match connectors 1
Dubox connectors 2
Board-to-board connectors
IDC picoflex connectors 1
DIN 41.612
Power connectors
LED connectors
Terminal blocks
DC power connectors
AC supply connectors
Rail mounted connectors
Solar connectors
Heavy Duty Power Connector Contacts
Heavy Duty Power Connector Accessories
Heavy Duty Power Connector Housings & Hoods
Heavy Duty Power Connector Inserts & Modules
Lighting Connectors
Compact Power Connectors
Heavy Duty Power Connectors
Compact Power Connector Accessories
DIN 43650 Solenoid Connectors
Lighting Connector Accessories
Power to the Board
AC Power Plugs & Receptacles
Jones Plugs & Sockets
AC Power Entry Modules
Audio-video connectors
Jack connectors
RCA connectors
XLR & mini XLR connectors
Loudspeaker connectors
AV adapters
DIN & mini DIN connectors
EURO
Microphone connectors
Automotive connectors
Data connectors
RJ connectors
D-Sub connectors
USB & IEEE1394 connectors
Card connectors
Optical connectors
MDR connectors
Industrial connectors
Industrial connectors - others
Industrial circular connectors
Rectangular multipole connectors
Valve connectors
RF Coaxial connectors
F connectors
BNC connectors
Coaxial connectors
SMA
RF adapters
MCX
TNC connectors
UHF & Mini-UHF connectors
N connectors
Other connectors
Other connectors TE
Other connectors Molex
Other Neutrik Connectors
Other Hirose Connectors
Other Amphenol Connectors
Other Binder Connectors
Military connectors
MIL-C-5015 connectors
Other connectors Harting
Wire Terminals & Splices
Spade Connectors
Bootlace Ferrules
Ring Terminals
Bullet Connectors
Crimp Terminal Housings
Crimp Pin Connectors
Fork Terminals
Blade Terminals
Splice Connectors
Crimping Kits
Discrete Sockets
Screw Terminals
Network & Telecom Connectors
Ethernet Connector Accessories
Ethernet Connectors
Ethernet Couplers
Network Faceplates
Fibre Optic Connectors
Fibre Optic Adapters
Mini I/O Connectors
Pluggable I/O Connector Accessories
Telephone Sockets
Pluggable I/O Connectors
Terminal Blocks
DIN Rail Terminal Blocks
DIN Rail Terminal Accessories
Terminal Block Accessories
Earth Terminal Blocks
Standard Terminal Blocks
Interface Modules
Pluggable Terminal Blocks
PCB Terminal Blocks
Distribution Blocks
Terminal Block Housings
Barrier Strips
Fixed Terminal Blocks
Barrier Terminal Blocks
AV Connectors
HDMI Connectors
Audio & Video Faceplates
XLR Connectors
RCA Connectors
Jack Plugs & Sockets
AV Connector Accessories
AV Adapters
Circular Connectors
Industrial Circular Connectors
Mil Spec Circular Connectors
DIN Connectors
Circular Connector Dust Caps
Circular Connector Contacts
Circular Connector Accessories
Circular Connector Adapters
Circular Connector Inserts
Circular Connector Seals
Circular Connector Backshells
Standard Circular Connectors
Circular Metric Connectors
Circular DIN Connectors
Circular MIL Spec Connectors
Circular Push Pull Connectors
PCB Connectors & Wire Housings
PCB Headers
PCB Sockets
Jumpers & Shunts
IDC Connectors
Wire Housings & Plugs
Crimp Contacts
FPC Connectors
PCB Connector Accessories
LVDS Connectors
PCB Connector Kits
Mains & DC Power Connectors
Power Distribution Units
Industrial Interlocks
IEC Filters
Industrial Power Connectors
DC Power Connectors
Plug Sockets
Mains Plugs
Mains Connector Accessories
Battery Connectors
IEC Connectors
Travel Adapters
RF Coaxial Connectors & Adapters
RF Attenuators
Coaxial Connectors
Coaxial Adapters
RF Terminators
Coaxial Connector Accessories
Automotive Electrical Connectors
EV Connectors
Automotive Connectors
Automotive Connector Seals
Automotive Connector Accessories
Automotive Connector Terminals
Automotive Connector Backshells
USB, D Sub & Computing Connectors
USB Connectors
D Sub Connectors
D Sub Contacts
USB Connector Accessories
D Sub Backshells
D Sub Connector Accessories
Edge Connectors
Memory Card Connectors
D Sub Adapters
SCSI Connectors
Memory Sockets
Backplane & Rack Connectors
PCB DIN Connector Accessories
DIN 41612 Connectors
Backplane Connectors
Backplane Connector Contacts
IC Sockets & Adapters
SIL Sockets
DIL Sockets
IC Sockets
IC Socket Adapters
Memory Connectors
Memory Card Connectors
Memory Socket Connectors
Lighting Connectors
Headers & Wire Housings
FFC
FPC
Board to Board & Mezzanine Connectors
Audio & Video Connectors
Phone Connectors
RCA Phono Connectors
HDMI, Displayport & DVI Connectors
XLR Connectors
DIN Connectors
Loudspeaker Connectors
Contact Probes
IC & Component Sockets
Cable Assemblies
RF Cable Assemblies
Sensor Cables
USB Cables
Ribbon Cables
Ethernet Cables
Rectangular Cable Assemblies
AC Power Leads
Lighting Cables
Specialised Cables
Audio Cables
Computer Cables
Fan Leads & Accessories
D-Sub Cables
DC Power Cords
Fibre Optic Cable Assemblies
HDMI Cables
Card Edge Connectors
PCI Express
Standard Card Edge Connectors
I
O Connectors
Backplane Connectors
High Speed
DIN 41612 Connectors
Rack & Panel Connectors
PC
Hard Metric Connectors
D-Sub Connectors
D-Sub Standard Connectors
D-Sub Contacts
D-Sub Tools & Hardware
D-Sub Backshells
D-Sub High Density Connectors
D-Sub Mixed Contact Connectors
D-Sub Adapters & Gender Changers
D-Sub Micro-D Connectors
D-Sub Dualport Connectors
Fibre Optic Connectors
Pin & Socket Connectors
Modular Connectors
Ethernet Connectors
Terminals
Wire & Cable
Wire & Cable Management
Cable Assemblies
MIL-Spec
MIL-Type
Solar Connectors
Photovoltaic Connectors
RF Interconnects
RF Connector Accessories
RF Connectors
Junction Systems
USB Connectors
IEEE 1394 Connectors
Automation & Control Gear
Automation Signalling
Sounder & Beacon Accessories
Sounder Beacons
Electronic Sounders
Beacons
Signal Tower Components
Signal Towers
Sensors
Motion Control Sensors
Photoelectric Sensors
Sensor Accessories
Sensor Connectivity
Infrared Temperature Sensors
Strain Gauges
Light Curtains
Thermocouple & Extension Wire
Proximity Sensors
Flow Controllers
RTD Sensors
Identification Sensors
Light Detection and Ranging
Registration Sensors
Fibre Optic Sensors
Level Sensors
Pressure Sensors
Thermocouples
Float Switches
Multi Function Sensors
Flow Sensors
Temperature Sensitive Labels
Thermistors
Vibration Sensors
Hall Effect Sensors
Process Control
Safety IO Modules
Temperature Transmitters
Counters
Multi Function Panel Meters
Heating Elements
Temperature Controllers
Panel Meter Accessories
Current Transformers
Time Switches
Energy Meters
Voltmeters
Shunts
Ammeters
Electric Motors
Inverter Drives
Motor Protection
Motor Starters
AC Motors
Gearboxes
Servo Motors
Motor Accessories
DC Motors
Motor Controllers
Stepper Motors
PLCs, HMIs & Industrial Computing
PLCs - Programmable Logic Controllers
PLC Accessories
HMI Accessories
HMI Displays
Safety Automation Controllers
Contactors & Auxiliary Contacts
Contactor Accessories
Contactors
Contactor Overload Relays
Auxiliary Contacts
Solenoids
Linear Solenoids
Relays & Signal Conditioning
Relays
Power Relays
Monitoring Relays
Timer Relays
Solid State Interface Relays
Solid State Relays
Safety Relays
Electromechanical Interface Relays
Signal Relays
Force Guided Relays
Reed Relays
Automotive Relays
HF & RF Relays
Relay Accessories
Relay Mounts & Mount Adaptors
Pluggable Function Modules
Relay Sockets
Relay Retaining Clips
Signal Conditioners & Isolators
Zener & Galvanic Barriers
Signal Conditioners
Cables & Wires
Networking & Coaxial Cables
Coaxial Cable
Ethernet Cable
Fibre Optic Cable
Telephone Cable
Cable Joints & Cable Sleeving
Heat Shrink Tubing
Cable Sleeves
Heat Shrink Boots
Solder Sleeves
Wire to Board Cables & Ribbon Cable
Ribbon Cable
Wire to Board Cables
Crimped Wire
Cable Management
Cable Grommets
Cable Trunking Accessories
Cable Markers
Cable Marker Accessories
Cable Spiral Wrapping
Cable Trunking
Conduit
Cable Covers
Conduit Fittings
Cable Tray Accessories
Cable Ties & Fixings
Cable Ties
Cable Clips & Clamps
Cable Glands & Fittings
Cable Glands
Cable Gland Locknuts
Cable Gland Adaptors
Cable Gland Plugs
Computer Cables
USB Cables
Serial Cables
SATA Cables
AV Cables
Audio Cable
HDMI Cables
XLR Cables
VGA Cables
DisplayPort Cables
Aux Cables
DVI Cables
Electrical Power & Industrial Cables
Control Cable
Twisted Pair & Multicore Data Cable
Power Cable
EV Charging Cable
Sensor & Actuator Cables
Power Cords
Extension Leads & Cable Reels
Single Core Cable
Hook Up Wire
Braided Wire
Pneumatics & Hydraulics
Pneumatic Connectors, Fittings & Hose
Pneumatic Fittings
Pneumatic Quick Connect Couplings
Pneumatic Function Fittings
Pneumatic Valves
Pneumatic Valve Accessories
Pneumatic Air Preparation
Air Preparation Accessories
Pneumatic Sensors & Switches
Pneumatic Sensor & Switch Accessories
Pneumatic Cylinder Sensors
Pneumatic Pressure Sensors
Pneumatic & Hydraulic Pressure Gauges
Pressure Gauges
Vacuum Components
Vacuum Switches
Vacuum Generators
Pneumatic Suction Cups
Pneumatic Vacuum Filters
Hydraulic Fittings & Tubing
Hydraulic Quick Connect Couplings
Hydraulic Fittings
Hydraulic Fitting Accessories
Hydraulic Pipe Clamps
Pneumatic Cylinders & Actuators
Shock Absorbers
Pneumatic Counters, Logic Controllers & Timers
Hydraulic Instrumentation & Switches
Liquid Level Indicators
Hydraulic Fluids & Filtration
Hydraulic Breather Caps
Compressed Air Piping Systems
Compressed Air Connections
Hydraulic Cylinders, Pumps & Power Units
High Pressure Hydraulic Cylinders
Hydraulic Hand Pumps
Hydraulic Valves & Manifolds
Fasteners & Fixings
Clips & Springs
Screws & Bolts
Machine Screws
Self Tapping Screws
Threaded Rods
Hex Bolts
Socket Screws
Coach Screws
Coach Bolts
Security Screws
Wood Screws
Sems Screws
Grub Screws
Self Drilling Screws
Spacers & Standoffs
Standoffs
Nuts & Washers
Washers
Hex Nuts
Sheet Metal & Panel Fasteners
Wall Plugs, Fixings & Anchors
Masonry Bolts & Anchors
Plasterboard & Cavity Wall Fixings
Wall Plugs
Nails & Rivets
Nails
Rivets
Pins, Keys & Retaining Clips
Circlips
Pin, Key & Retaining Clip Kits
Hand Tools
Cable, Connector & Crimping Tools
Crimp Tools
Crimping Dies
Cable Sleeving Tools
Insertion & Extraction Tools
Crimp Tool Positioners, Turrets & Locators
IDC Tools
Cable Tie Guns
Tool Kits & Tool Storage
Tool Kits
Tool Chests & Tool Cabinets
Tool Boxes
Tool Bags
Tool Racks, Hooks & Holders
Tool Belts & Tool Pouches
Spanners, Sockets & Wrenches
Cross Wrenches & Control Cabinet Keys
Spanner Components & Accessories
Socket Accessories
Sockets
Socket Sets
Torque Wrenches
Socket Wrenches
Impact Sockets
Nut Drivers
Spanners
Wrenches
Spanner Sets
Pliers & Cutters
Wire Strippers
Pliers
Cutters
Wire Stripper Accessories
Plier Sets
Measuring & Marking
Spirit Levels & Inclinometers
Laser Measures
Rulers
Laser Levels
Tape Measures
Feeler Gauges
Specialist Tools
Bearing Pullers
Tweezers
Pick Up Tools
Clamps & Vices
Vices
Clamps
Screwdrivers, Hex & Torx Keys
Torx Keys
Screwdriver Bits
Hex Keys
Screwdrivers
Screwdriver Sets
Torque Screwdrivers
Threading Tools
Dies
Threading Tap & Die Sets
Threading Taps
Sanding, Filing & Polishing
Deburring Tools
Sandpaper, Sanding Blocks & Pads
Sharpening Stones
Files
Knives, Scissors & Saws
Knife Blades
Hand Saw Blades
Safety Knives
Scrapers
Scissors
Hand Saws
Hammers & Demolition
Chisels
Hammers
Sensors
Temperature Sensors
NTC (Negative Temperature Coefficient) Thermistors
Board Mount Temperature Sensors
Thermostats
Industrial Temperature Sensors
Sensor Fixings & Accessories
Encoders
Optical Sensors
Phototransistors
Photodiodes
Optical Switches
Ambient Light Sensors
Photo Detectors - Logic Output
Photoelectric Sensors
Audio Sensors
Microphones
MEMS Microphones
Magnetic Sensors
Board Mount Hall Effect
Industrial Hall Effect
Proximity Sensors
Sensor Development Tools
Magnetic Sensor Development Tools
Multiple Function Sensor Development Tools
Optical Sensor Development Tools
Touch Sensor Development Tools
Position Sensor Development Tools
Acceleration Sensor Development Tools
Temperature Sensor Development Tools
Pressure Sensor Development Tools
Current Sensor Development Tools
Environmental Sensors
Board Mount Humidity Sensors
Air Quality Sensors
Capacitive Touch Sensors
Motion & Position Sensors
Vibration Sensors
Board Mount Motion & Position Sensors
Accelerometers
Tilt Switches
Industrial Motion & Position Sensors
Speed Sensors
IMUs - Inertial Measurement Units
Distance Sensors
Current Sensors
Current Transformer Sensors
Board Mount Current Sensors
Biometric Sensors
Pressure Sensors
Board Mount Pressure Sensors
Force Sensors & Load Cells
Computing & Peripherals
Labelling
Label Printer Accessories
Label Rolls
Label Printer Tapes
Pre-printed Labels
Label Sheets
Label Printers
Audio & Video
Video Converters
Monitors
Headphones
Speaker Drivers
Networking & WiFi
Network Hubs
Fibre Optic Patch Panels
Serial Device Servers
Wireless Access Points
Fibre SFP Transceiver Modules
Ethernet Media Converters
Routers
Video Extenders
Network Switches
RJ Patch Panels
Computer Components & Software
Interface Adapters & Converters
USB Hubs
Network Cards
Serial Cards
RAM
Memory & Data Storage
Hard Drives
SD Cards
USB Sticks
Compact Flash Cards
Remote Controls
Keyboards & Mice
Keyboards
KVM Switches
Barcode Scanners & Accessories
Barcode Scanners
3D Printing & Scanning
3D Printer Parts
3D Printing Materials
Mobile Computing
Docking Stations
Printing & Scanning
Printer Ink
Lighting
Light Fittings, Fixtures & Luminaires
Floodlights
Bulkhead Lights
Cabinet Lighting
Spotlights & Downlights
Batten Lights
Machine Lights
Light Bulbs, Lamps & Tubes
Incandescent Light Bulbs
LED Bulbs
Fluorescent Tubes
CFL Bulbs
Halogen Bulbs
Lighting Components
Lamp Holders
Lighting Mounts
Torches & Inspection Lamps
Torches
Site Safety
Spillage Control
Spill Kits
Spill Control Equipment
Safety Signs
Safety Labels
Mandatory Signs
Safety Posters
Warning Signs
Exit Signs
Prohibition Signs
Lockout Tagout
Lockouts
First Aid
First Aid Supplies
Fire Safety
Fire Alarm Accessories
Traffic Management & Crowd Control
Safety Barriers
Safety Flooring
Anti-Fatigue Mats
Anti-Slip Floor Mats
ESD Control, Cleanroom & PCB Prototyping
Prototyping Boards
Grounding Contacts
Matrix Boards
Breadboard Jumper Wires
Extender Boards & Adapter Boards
Copper Clad Boards
ESD Control & Clean Room
Anti Static Storage Boxes
ESD Grounding
Anti Static Packaging
ESD Cabinets
PCB Etching, Preparation & Developing
PCB Spacers, Pillars & Supports
PCB Spacers
PCB Supports
PCB Handling
PCB Holders
PCB Tools
PCB Drill Bits
Power Supplies & Transformers
Transformers
Transformer Accessories
Site Transformers
PCB Transformers
SMPS Transformers
Power Supplies
DIN Rail Power Supplies
Power Supply Accessories
Switching Power Supplies
AC/DC Adapters
Uninterruptible Power Supplies
Voltage Converters
DC-DC Converters
Switching Regulators
Power Inverters
Renewable Energy
Solar Panels
Switches
Safety Interlock Switches & Components
Non Contact Safety Switches
Safety Interlock Switches
Safety Interlock Components
Safety Interlock Actuators & Magnets
Solenoid Interlock Switches
Push Button Switches & Components
Push Button Lamps & LEDs
Push Button Tools
Push Button Contact Blocks & Light Blocks
Pilot Light Heads
Pilot Lights
Push Button Switches
Push Button Lenses
Push Button Adapters & Mounts
Push Button Guards & Covers
Emergency Stop Push Buttons
Push Button Caps
Push Button Labels & Legends
Push Button Bezels
Push Button Heads
Pendant Switches
Push Button Actuators
Control Stations
Switch Disconnectors & Components
Isolator Switches
Fuse Switch Disconnectors
Rotary Handles
Switch Disconnector Auxiliary Contacts
Domestic Installation Switches
Light Switch Covers
Light Switches
Switch Insert Modules
Fused Spurs
Rocker Switches & Components
Rocker Switches
Rocker Switch Covers
Rocker Switch Actuators
Foot Switches & Components
Foot Switches
Rotary Switches & Components
Cam Switches
Rotary Switches
Rotary Switch Knobs
Rope Pull Switches & Components
Rope Pull Switch Cable
Rope Pull Switches
Limit & Position Switches
Limit Switches
Limit Switch Actuators & Operating Heads
Tilt Switches
Magnetic Proximity Switches
Capacitive, Magnetic and Piezo Switches
Capacitive Switches
Reed Switches
Hall Effect Switches
DIP & Rotary Encoded Switches
DIP & SIP Switches
Rotary Encoded DIP Switches
Joysticks & Components
Joysticks
Micro Switches & Detector Switches
Door Interlock Switches
Micro Switches
Micro Switch Actuators
Thermostatic Switches
Detector Switches
Keyboard & Keypad Switches
Tactile Switches
Keyboard & Keypad Switch Caps
Tactile Switch Caps
Key Switches & Selector Switches
Selector Switches
Key Switches
Key Switch Keys & Covers
Selector Switch Heads
Safety Enabling & Control Switches
Toggle Switches & Slide Switches
Toggle Switches
Slide Switches
Toggle Switch Caps & Boots
Passive Components
EMI Filters & Protection
Power Line Filters
RC Network Capacitors
Ferrite Sleeves
Flat Cable Ferrites
Ferrite Cores
Ferrite Rings
Common Mode Chokes
Signal Filters
Ferrite Beads
Shielding Sheets
Shielding Strips
Shielding Cages
Surge Protection Components
Surge Suppressor Units
Gas Discharge Tubes
Thermistor ICs
Varistors
Antennas
WiFi Antennas
Multi-Band Antennas
Telemetry Antennas
GSM & GPRS Antennas
GPS Antennas
RFID Antennas
SMT Antennas
Fixed Resistors
Resistor Arrays
Chassis Mount Resistors
Through Hole Resistors
Surface Mount Resistors
Inductors
Leaded Inductors
Surface Mount Inductors
Wireless Charging Coils
Variable Resistors
Potentiometers
Trimmer Potentiometer Accessories
Trimmer Potentiometers
Rheostats
Potentiometer Knobs
Sounder, Buzzer & Microphone Components
Piezo Buzzers
Condenser Microphone Components
Miniature Speakers
Capacitors
Film Capacitors
Aluminium Capacitors
MLCCs - Multilayer Ceramic Capacitors
Supercapacitors
Polymer Capacitors
Tantalum Capacitors
Feedthrough Capacitors
Mica Capacitors
Single Layer Ceramic Capacitors
Capacitors Accessories
Niobium Oxide Capacitors
Array Capacitors
Aluminium Electrolytic Capacitors
Ceramic Capacitors
Feed Through Capacitors
Safety Capacitors
Capacitor Hardware
Silicon RF Capacitors
Trimmer
Motor Start Capacitors & Motor Run Capacitors
MLCCs
Passive Components Kits
Resistor Kits
Capacitor Kits
Crystals, Oscillators & Resonators
Crystal Oscillators
Crystal Units
Ceramic Resonators
Rotary Encoders
Optical Rotary Encoders
Mechanical Rotary Encoders
Filters
Fan Filters & Accessories
Common Mode Filter Chokes
Signal Conditioning
EMI Gaskets, Sheets, Absorbers & Shielding
Power Line Filters
Active Filters
Ferrite Cores & Accessories
Ferrite Beads
Feedthrough Capacitors
Ferrite Cable Cores
EMI Filters
EMI Suppression
Audio Transformers
Signal Transformers
Encoders
Frequency Control & Timing Devices
Oscillators
Resonators
Crystals
Antenna Accessories
Ferrites
Ferrite Beads
Ferrite Clamp On Cores
Ferrite Cores & Accessories
Ferrite Cable Cores
Ferrite Toroids
Inductors, Chokes & Coils
Power Inductors - SMD
RF Inductors - SMD
RF inductors - Leaded
Power Inductors - Leaded
Common Mode Chokes
Coupled Inductors
NFC
Variable Inductors
Wireless Charging Coils
Signal Conditioning
Thermistors - NTC
Varistors
Potentiometers, Trimmers & Rheostats
Potentiometer Tools & Fixings
Trimmer Resistors - SMD
Trimmer Resistors - Through Hole
Potentiometers
Digital Potentiometer ICs
Slide Potentiometers
Precision Potentiometers
Thermistors - PTC
Resistors
Current Sense Resistors
Through Hole Resistors
Resistor Networks & Arrays
Metal Oxide Resistors
SMD Resistors
MELF Resistors
Variable Resistors
Wirewound Resistors
Metal Foil Resistors
Film Resistors
Ceramic Composition Resistors
High Frequency
Resistor Hardware
Chassis Mount Resistors
Test & Measurement
Data Acquisition & Logging
Data Acquisition Accessories
Data Loggers
Chart Recorders
Data Acquisition
Data Logger Accessories
Network Test & Measurement
Fibre Tester Accessories
Network Testers
Fibre Testers
Electrical Test & Measurement
Earth Testers
Electrical Test & Measurement Accessories
PAT Testers
Multifunction Testers
Loop & RCD Testers
Clamp Meters
Proving Units
Insulation Testers
Current & Voltage Calibrators
Voltage Testers
Multi Function Calibrators
Phase Rotation Testers
Loop Calibrators
Environmental Test & Measurement
Environmental Test & Measurement Accessories
Air Quality Monitors
Hygrometers
Gas Detectors
Anemometers
Sound Level Meters
pH Meters
Multimeters & Accessories
Multimeter Leads
Current Clamps
Multimeters
Multimeter Kits
Bench Power Supplies & Sources
Bench Power Supply & Source Accessories
Bench Power Supplies
Electronic Loads
Oscilloscopes & Accessories
Oscilloscopes
Oscilloscope Probe Accessories
Oscilloscope Probes
Oscilloscope Software
Weight & Force Test & Measurement
Weighing Scales
Signal Generators & Analysers
Power Quality Analysers
Spectrum Analysers
Frequency Counters
Function Generators
Arbitrary Waveform Generators
Test Connectors
Banana Connectors
Test Clip Insulators
Terminal Posts
Test Connector Adapters
Binding Posts
Test Probes
Grabber & Hook Clips
Crocodile Clips
Test Leads & Test Lead Kits
Test Leads
Test Lead & Connector Kits
Temperature Test & Measurement
Temperature Probes
Digital Thermometers
Infrared Thermometers
RF Test & Measurement
Electronic Component Testing
LCR Meter Accessories
LCR Meters
Ohmmeters
Decade Boxes
Pressure Test & Measurement
Pressure Calibrator Accessories
Manometers
Pressure Calibrators
Speed Test & Measurement
Tachometers
Lab Equipment
Microscope Accessories
Magnifiers
Magnifying Lamps
Lab Bottles
Pipettes
Jugs & Beakers
Scoops
Microscopes
Engineering Test & Measurement
Dial Indicators
Thickness Gauges
Calipers
Micrometers
Torque Testers
Depth Gauges
Test Equipment Accessories
Test Clips
Test Plugs & Test Jacks
Test Probes
Contact Probes
Test Accessories - Other
Test Sockets
Test Connectors
Test Leads
Attenuators - Interconnects
Test Equipment Power Cords
Plumbing & Pipeline
Hose Pipe & Fittings
Hose Pipe & Flexible Tubes
Hose Connectors
Hose Assemblies
Flexible Ducting
Water Heating & Pumps
Positive Displacement Pumps
Water Pumps
Valves & Taps
Solenoid Valve Accessories
Solenoid Valves
Ball Valves
Check Valves
Motorised Valves
Solenoid Valve Coils
Pneumatic Actuated Valves
Pipes & Pipe Fittings
Plastic Pipe Fittings
Stainless Steel Pipe Fittings
Brass Pipe Fittings
Malleable Iron Pipe Fittings
Pipework Maintenance & Water Treatment
Mechanical Power Transmission
Electric Actuators
Electric Linear Actuators
Power Transmission Couplings
Flexible Couplings
Flexible Coupling Flectors
Belts & Pulleys
Belt Pulleys
Profile & Round Belts
Timing Belts
V & Wedge Belts
Poly V Belts
Roller Chains & Accessories
Roller Chain Links
Roller Chains
Sprockets
Gears & Racks
Mitre & Bevel Gears
Spur Gears
Bushes & Collars
Shaft Collars
Locking Bushes
Taper Lock Bushes
Lead Screws, Ball Screws & Ball Splines
Enclosures & Server Racks
Enclosures & Racking Components
Enclosure Covers & Plates
Rack Rails
Enclosure Accessories
Rack Panels
DIN Rails
Server Rack Shelves
Locking Handles
Enclosure Locks
19-Inch Racking
Rack Mounting Hardware
Server Cabinets
Rackmount Cases
Server Racks
Enclosures
Instrument Cases
General Purpose Enclosures
Junction Boxes
DIN Rail Enclosures
Back Boxes
Faceplates & Mounting Plates
Adaptable Boxes
Cooling Units
Enclosure Heaters
Potting Boxes
Desktop Enclosures
Wall Boxes
Development Board Enclosures
Floor Standing Enclosures
Hand Held Enclosures
PCB Mounting Enclosures
Batteries & Chargers
Battery & Charger Accessories
Battery Holders
Raspberry Pi, Arduino, ROCK & Development Tools
STEM Education
Development Tools & Single Board Computers
Power, Motor & Robotics Development Tools
Signal Conversion Development Tools
Analogue Development Tools
Communication & Wireless Development Tools
Sensor Development Tools
HMI Development Tools
Microcontroller Development Tools
Development Tool Accessories
Display Development Tools
LED Development Tools
Raspberry Pi Shop
Raspberry Pi Cases
Raspberry Pi Power Supplies
Raspberry Pi Cables
Raspberry Pi HATs & Add-ons
Arduino Shop
ROCK SBC Shop
BBC micro:bit Shop
BBC micro:bit Add-ons
HVAC, Fans & Thermal Management
Fan Accessories
Electronics Heating & Cooling Components
Heatsink Mounting Accessories
Heatsinks
Thermal Pads
Heaters & Radiators
Trace Heating Cable
Thermal Grease
Air Conditioning & Heating Accessories
Air Conditioning & Fans
Fuses & Circuit Breakers
Fuse Holders & Accessories
Fuse Holders
Fuse Holder Accessories
Fuse Blocks
Fuse Clips
Fuse Covers
Circuit Breakers
Circuit Breaker Accessories
Busbars
RCCBs
RCBOs
MCBs
MCCBs
Circuit Trips
Thermal Breakers
Surge Protection Devices
Distribution Boards
Earth & Lightning Protection
Fuses
Cartridge Fuses
Car Fuses
Tag Fuses
Resettable Fuses
Non Resettable Fuses
Bottle Fuses
Thermal Fuses
Engineering Materials & Industrial Hardware
Structural Systems
Connecting Components
Tubing and Profile Struts
Tube Stops & Plugs
Door Components
Feet, Castors & Base Clamps
Work Station Components
Anti Vibration & Levelling Components
Anti-Slip Pads
Anti Vibration Mounts
Adjustable Feet
Anti Vibration Pads
Plastic & Rubber Materials
Plastic Sheets
Rubber Sheets
Plastic Rods
Metal Materials
Metal Bars & Metal Rods
Metal Sheets
Castors & Wheels
Castor Wheels
Trolley Wheels
Conveyor Components
Conveyor Rollers
Ball Transfer Units
Channel Support Systems
Channel Nuts
Flat Fittings
Knobs, Levers & Handles
Clamping Knobs
Clamping Levers
Hand Wheels
Shim Stock
Insulation Materials
Power Tools, Soldering & Welding
Soldering
Soldering Accessories
Soldering Irons
Soldering Stations
Soldering Iron Tips
Desoldering Nozzles
Desoldering & Reworking Tools
Welding & Brazing
Welding Accessories
Power Tools
Heat Guns
Drills
Multitools
Electric Saws
Electric Screwdrivers
Impact Wrenches
Grinders
Power Tool Kits
Drill Bits & Parts
Drill Accessories
Hole Saws & Core Drill Bits
Drill Bits
Drill Bit Sets
Specialist Drill Bits
Countersinks
Workshop Tools
Machine Tool Coolant Systems
Workbenches
Power Tool Accessories
Multitool Accessories
Saw Blades
Power Tool Batteries
Milling & Lathing
Lathe Tools & Kits
End Mills
Sanding Belts, Discs & Wheels
Power Sanding Sheets & Belts
Abrasive Discs
Abrasive Brushes
Abrasive Wheels
Backing Pads & Mandrels
Air Tools
Blow Gun Accessories
Blow Guns
Air Ratchets & Air Impact Wrenches
Air Compressors
Grounds Maintenance Tools
Displays & Optoelectronics
Indicators & Indicator Components
Indicator Lamps
Panel Mount Indicators
Indicator Lampholders
PCB LED Indicators
Indicator Lenses
LED Lighting Components
LED Strip Lights
LED Drivers
LED Lenses & Reflectors
LED Array Mounts
LED Arrays
LED Cables
COB LEDs
LED Light Pipes
LED Holders
LED Driver ICs
Optocouplers & Photodetectors
Photodiodes
IR Receivers
Slotted Optical Switches
Reflective Optical Sensors
Optocouplers
Phototransistors
Digital Isolator ICs
LEDs - Light Emitting Diodes
LEDs
IR LEDs
UV LEDs
Display Modules
OLED Displays
LCD Colour Displays
LED Displays
LCD Monochrome Displays
Display Drivers
Fibre Optic Components
Fibre Optic Receivers
Fibre Optic Transmitters
Fibre Optic Transceivers
Laser Modules & Components
Laser Diodes
Laser Modules
Bearings & Seals
Rotary Bearings & Housing Units
Rod Ends
Ball Bearings
Plummer Blocks & Pillow Blocks
Bearing Accessories
Cam Followers
Plain Bearings
Bearing Units
Roller Bearings
Bearing Inserts
Gaskets, Seals & Packings
Gaskets & O-Rings
Seal & O-Ring Kits
Seals
Linear Motion
Linear Guide Blocks
Linear Bearings
Access, Storage & Material Handling
Material Lifting & Loading Equipment
Hoists
Shackles
Storage & Shelving
Compartment Boxes
Storage Cabinets
Storage Racking
Shelving Systems
Storage Bins
Drawer Storage
Lockers
Transit & Equipment Cases
Transit Cases
Transit Case Accessories
Trucks, Trolleys & Lifting Tables
Trolleys
Ladders & Steps
Step Ladders
Adhesives, Sealants & Tapes
Sealants & Resins
Potting Compounds
Sealants
Tapes
Foam Tapes
Electrical Tapes
Double Sided Tapes
Duct Tapes
Masking Tapes
Metallic Tapes
Adhesives & Glues
Adhesives
Thread Lock
Glues
Security & Ironmongery
CCTV & Security Surveillance
CCTV Accessories
CCTV Cameras
Locks & Bolts
Camlocks
Padlocks
Door Bolts
Euro Cylinder Locks
Code Locks
Security Alarms & Sensors
PIR Sensors
Key Cabinets & Safes
Key Cabinets
Key Accessories
Safes
Door Control & Seals
Drawer Runners
Latches, Hinges & Handles
Hinges
Door Catches
Door Latches
Personal Protective Equipment & Workwear
Hand Protection
Work Gloves
Workwear
Trousers
Fleeces, Hoodies & Sweatshirts
Jackets
Eye & Face Protection
Safety Glasses
Face Shields
Head Protection
Bump Caps
Safety Footwear
Safety Boots
Insoles
Disposable Workwear
Disposable Coveralls
Hi Vis Clothing
Hi Vis Jackets
Office Supplies
Posting & Packaging
Writing & Drawing Supplies
Marker Pens
Office Furniture
Monitor Arms & Wall Mounts
Office Chairs
Filing
Paper & Consumables
Staples
Binding Combs & Covers
Office Equipment
White Boards, Notice Boards & Planners
Facilities Cleaning & Maintenance
Electronics Cleaners & Protective Coatings
Electronics Cleaners
Washroom Equipment & Supplies
Soap Dispensers
Cleaning Sprays & Fluids
Wipes & Cloths
Cloths
Squeegees
Greases, Oils & Lubricants
Lubrication Accessories
Greases
Grease, Oil & Lubricant Dispensers
Floor Cleaning
Mops, Mop Heads & Sweepers
Vacuum Cleaners
Broom Holders & Cleaning Shadow Boards
Buckets
Broom Handles & Mop Handles
Dust Pans & Brushes
Waste & Recycling
Waste Bins & Recycling Bins
Paint & Painting Supplies
Spray Paint
Paint Pens
Brushes
Scrubbing Brushes
Bottle Brushes
Electronic components
Semiconductors
Integrated Circuits - ICs
Circuit Protection
Fuse Holders
Fuse Clips
Fuse Holder Accessories
Fuse Holder
ESD Suppressors
TVS Diodes
Thermistors
NTC (Negative Temperature Coefficient) Thermistors
Resettable Fuses - PPTC
PTC (Positive Temperature Coefficient) Thermistors
Inrush Current Limiters
Resettable Fuses - PPTC
Fuses
Surface Mount Fuses
Resettable Fuses - PPTC
Fuses with Leads - Through Hole
Cartridge Fuses
Automotive Fuses
Specialty Fuses
Industrial & Electrical Fuses
Varistors
Circuit Breakers & Accessories
Circuit Breaker Accessories
Circuit Breakers
Thyristors
SCRs
Triacs
Gas Discharge Tubes - GDTs
Gas Plasma Arrestors
LED Protection Devices
Thermal Cut-offs
Circuit Protection Kits
Surge Protective Devices - SPD
Board Mount Surge Protectors
Industrial Surge Protectors
Electromechanical
Audio Devices
MEMS Microphones
Microphones
Piezo Buzzers & Audio Indicators
Speakers & Transducers
Hardware
Washers
Bumpers
Circuit Board Hardware - PCB
Fuse Holders, Clips & Fixings
Mounting Fixings
Screws & Fasteners
Standoffs & Spacers
Knobs & Dials
LED Mounting Hardware
Racks & Rack Cabinet Accessories
Relay Sockets & Fixings
Sensor Fixings & Accessories
Storage Boxes & Cases
Switch Fixings
Relays, Contactors & Solenoids
General Purpose Relays
High Frequency
Industrial Relays
Low Signal Relays - PCB
Reed Relays
Relay Sockets & Fixings
Safety Relays
Solenoids & Actuators
Solid State Relays - SSR
Automotive Relays
I
O Modules
Industrial Automation
Cameras & Accessories
Circuit Protection
Contactors
Controllers
Counters & Tachometers
Ethernet & Communication Modules
Hardware
Human Machine Interface - HMI
Industrial Connectors
Industrial Development Tools
Industrial Displays
Industrial Enclosures
Industrial Lighting & Indicators
Industrial Power
Industrial Sensors
Industrial Switches
Industrial Relays & Accessories
Industrial Safety
Industrial Terminal Blocks
Motor Drives
Printers
Robotics
Solenoids & Actuators
Test & Measurement
Timers
Wire & Cable
Circuit Breakers
Encoders
Switches
Basic
Coded Rotary Switches
Control Switches
Detector Switches
DIP Switches
Magnetic
Pushbutton Switches
Rocker Switches
Rotary Switches
Slide Switches
Tactile Switches
Keylock Switches
Toggle Switches
Switch Accessories
Thumbwheel Switches & Pushwheel Switches
Motors & Drives
Motor Drives
AC, DC & Servo Motors
Stepper Motors
Vibration Motors
Knobs & Dials
Printers
Embedded Solutions
Modules Accessories
Memory & Data Storage
Memory ICs
Memory Modules & Memory Cards
Wireless & RF Modules
Antennas
Multiprotocol Modules
WiFi Modules - 802.11
Bluetooth Modules - 802.15.1
Sub-GHz Modules
GNSS
Zigbee Modules - 802.15.4
Computing
Raspberry Pi Accessories
Enclosures for Single Board Computing
Raspberry Pi Hats
Engineering Tools
Analogue & Digital IC Development Tools
LED Lighting Development Tools
Embedded Tools & Accessories
RF
Sensor Development Tools
Power Management IC Development Tools
Embedded Processor Development Kits
Memory IC Development Tools
Optoelectronic Development Tools
Communication Development Tools
Programmable Logic IC Development Tools
Interface Modules
Power Management Modules
Sensor Modules
Temperature Sensor Modules
Multiple Function Sensor Modules
Ethernet & Communication Modules
Opto-electronics
LED Emitters
Mid-Power LEDs - White
Standard LEDs - SMD
High Power LEDs - White
Standard LEDs - Through Hole
Mid-Power LEDs - Single Colour
High Power LEDs - Single Colour
High Power LEDs - Multi-Colour
LED Lighting
LED Emitters
Lighting Connectors
LED Bulbs & Modules
LED Lighting Mechanical
LED Lighting Electronics
LED Lighting Optics
LED Indication
LED Mounting Hardware
Standard LEDs - Through Hole
Standard LEDs - SMD
LED Light Pipes
LED Circuit Board Indicators
LED Lenses
Led Bars & Arrays
LED Panel Mount Indicators
LED Replacements
Optocouplers
Photocouplers
Fibre Optics
Fibre Optic Connectors
Fibre Optic Cable Assemblies
Fibre Optic Transmitters, Receivers, Transceivers
Optical Detectors & Sensors
Photodiodes
Phototransistors
Ambient Light Sensors
Photo IC Sensors
Photoresistors
Optical Sensors - Development Tools
Optical Sensors - Light to Digital Converters
Photoelectric Sensors
Infrared Data Communications
Infrared Emitters
Infrared Emitters - High Power
Infrared Receivers
Drivers
LED Lighting Drivers
LCD Drivers
LED Display Drivers
Lamps & Holders
Lamps
Lamp Lenses
Lamp Holders & Accessories
Panel Mount Indicator Lamps
Optical Switches
Optical Switches, Reflective, Phototransistor Output
Optical Switches, Transmissive, Phototransistor Output
Optical Switches, Transmissive, Photo IC Output
Lasers
Laser Diodes
Laser Driver
VCSEL Lasers
Displays
LED Displays & Accessories
Display Drivers & Controllers
LCD Displays
LED Display Drivers
Display Switches
Electronic Paper Displays - ePaper
Cameras & Accessories
Camera Accessories
Cameras & Camera Modules
Backlighting Components
LED Backlighting
CCFL Fluorescent Lamps
Power
Power Management ICs
LDO Voltage Regulators
Linear Voltage Regulators
Voltage References
Supervisory Circuits
Voltage Regulators - Switching Regulators
AC
Gate Drivers
Battery Management
Motor
Switching Controllers
LDO Voltage Controllers
Hot Swap Voltage Controllers
Current & Power Monitors & Regulators
Power Factor Correction - PFC
Optically Isolated Gate Drivers
Galvanically Isolated Gate Drivers
Wireless Charging ICs
Battery Holders, Clips & Contacts
Cylindrical Battery Contacts, Clips, Holders & Springs
Coin Cell Battery Holders
Battery Contacts
9V Battery Snaps & Contacts
Battery Enclosures
DC Power Connectors
Batteries
Coin Cell Battery
NiMH - Nickel Metal Hydride Battery
AC Power Plugs & Receptacles
Transformers
Audio & Signal Transformers
Pulse Transformers
Power Transformers
Current Transformers
Power Supplies
Plug-In AC Adapters
DIN Rail Power Supplies
Switching Power Supplies
Modular Power Supplies
Power over Ethernet - PoE
LED Power Supplies
AC
Supercapacitors
Solar Panels & Solar Cells
AC Power Entry Modules
Power Condition
Power Line Filters
DC
DC Converters
AC Power Leads
DC Power Cords
RF & Wireless
RF Cables & Connectors
RF Connector Accessories
RF Connectors
RF Adapters - In Series
RF Terminators
RF Cable Assemblies
Coaxial Cables
RF Adapters - Between Series
Antennas & Accessories
Antennas
Antenna Accessories
Antenna Development Tools
NFC
RFID Solutions
Ethernet & Communication Modules
RF
Wireless Development Tools
RF Inductors
RF Inductors - SMD
RF inductors - Leaded
RF Integrated Circuits
Attenuators
RF Switch ICs
RF Amplifier
RF Front End
RF Wireless Misc
Phase Locked Loops - PLL
RF Transmitter
RF System on a Chip - SoC
Tuners
Modulator
RF Receiver
RF Microcontrollers - MCU
RF Detector
RF Transceiver
Prescaler
RF Mixer
RF Circulators
RF Isolators
RF Transistors
RF Bipolar Transistors
RF JFET Transistors
RF MOSFET Transistors
RF Capacitors
RF Resistors
Wireless Modules
Multiprotocol Modules
WiFi Modules - 802.11
Bluetooth Modules - 802.15.1
Sub-GHz Modules
GNSS
Zigbee Modules - 802.15.4
Wireless Charging
Wireless Charging Coils
Wireless Charging ICs
RF Relays
Thermistors
Thermal Interface Products
Heat Sinks
Fan Accessories
Board Mount Temperature Sensors
Thermostats
Thermal Cut-offs
Industrial Temperature Sensors
AC Fans
Liquid Cold Plates, Liquid Cooling & Heat Pipes
DC Fans
Heat Sinks - LED
Blowers & Centrifugal Fans
Thermoelectric Peltier Modules
Tools & Supplies
Labels & Industrial Warning Signs
Tools
Wire Stripping & Cutting Tools
Crimpers
Pliers & Tweezers
Other Tools
Screwdrivers, Nut Drivers & Socket Drivers
Soldering
Spanners
Extraction, Removal & Insertion Tools
Bench Top Tools
Punches & Dies
Soldering
Soldering Irons
Desoldering Braid
Chemicals
Adhesive Tapes
Accessories
Tinkerforge Accessories
OSEPP Accessories
Pimoroni Accessories
DFRobot Accessories
SparkFun Accessories
Adafruit Accessories
Seeed Studio Accessories
Prototyping Products
Soldering
PCBs & Breadboards
Chemicals
Component Kits
Jumper Wires
Hook-up Wire
Copper Clad Boards
Storage Boxes & Cases
Liquid Dispensers & Bottles
Antistatic Control Products
Filters
Daewoo Doosan DX480 Pilot Filter
Kubota D722 engine external air filter
Fuel filters
Air filters
Oil filters
Engine and accessories
Komatsu d37 d39 d41 d51 joystick valve gasket
Komatsu d31 d32 valve cover bolt gasket
Cover gasket doosan 65.01905-0009
Front drive seal komatsu lw200 d31 hd320
Komatsu wa120 wa150 wa180 security ring
Komatsu d155 d31 hydraulic pump seal
Kalamitka doosan s6710041 grease nipple
Exhaust manifold nut volvo ec160b ec160c
Filler cap doosan 2119-1063a 2160-1003
Oil filler cap 65.01810-5011
Doosan spacer 1.412-00164
Daewoo Doosan DL200 injector seat o-ring
Komatsu d155ax d275a pump piston oring seal
Thermostat gasket daewoo doosan solar 170
Doosan thermostat gasket 65.06901a0069
Doosan thermostat o-ring 06.56342-1208
O-ring doosan 2180-1026d23
O-ring doosan s8000181
Doosan connecting rod bearing 65.02410-0050
Piston pin protection doosan 06.29020-0125
Doosan intake valve 65.04101-0065b
Valve seat doosan 65.03203-1062
Pin securing pin volvo a30d a30e a35d
Ball bushing k3v63dt
Komatsu cap 20y-60-21440
Steering system
doosan joystick button 1.161-00016 1.161-00021
engine cooling
Hydraulic system
Doosan water pump gasket 65.06901-0042
Doosan thermostat o-ring 65.96501-0099a
Fuel system
The remaining
Suspension system
Bushings
Body parts
Lighting
Work equipment
Spoons
The remaining
In order to
Grapples
Plows, plowshares
Quick connectors
Hammers
Electrical system, ignition
Oil sensor doosan 65.27441-7007
Exhaust system
Heating, ventilation, air conditioning
Drive system
Hardened gear with flange 10b-1 var
Gear wheel, hardened, disc 12b-1 Waryński
Gear wheel, hardened disc 10b-1 Waryński
Haulotte 4014 oil plug
Hardened gear wheel, disc 08b-1 Waryński
Carraro hub reduction washer 132319 or
Differentials for quads
Caterpillars
Interior furnishings
Braking system
For cars
Aluminum
Steel
For motorcycles and scooters
For other agricultural machinery
Forestry
Cultivation of the land
Covers
Luggage racks
Trunks
Plows
Winches
Assembly parts
Oil filter yzf yfz HF141
Engines and accessories
Engine and accessories seals
Go-Kart Parts
Aircraft Parts
Parts
Quad Bike Parts
Drive system
Drive belts
Joints
Differentials for quads
Half shafts
Joint covers
Clutches
Shaft crosses
Drive shafts
Drive chains, drive sprockets, sets
Gas and clutch cables
Clutch levers
Engines and accessories
Engine and accessories seals
Engine covers
Timing chains
Cylinders and components
Crankshafts
Pins
Intake and exhaust valves
Engine heads
Engine and equipment sensors
Pistons, pins, piston rings
Cylinder liners
Complete engines
Camshafts
Output shafts
Connecting rods
Assembly parts
Oil filter yzf yfz HF141
Lack
Suspension system
Repair kits
Wheel bearings
Steering rod ends
Bushings
Pins
Wishbones
Shock absorbers
Electrical system, ignition
Starters
Drivers
Switches
Voltage regulators
Relays
Counters
Spark plugs
Ignition switches
Bendix
Batteries and battery parts
Alternators
Spark gaps
Horns
Lighting
Direction indicators
Light bulbs
Front lamps
Additional lighting
Rear lamps
Braking system
Brake calipers
Brake pads
Brake cables
Brake discs
Braking system repair kits
Brake sensors
Master cylinders
Brake shoes
Brake levers
Brake fluid reservoirs
The remaining
LINHAI HYTRACK HY510 500 REAR LAMP
Fuel system
Fuel pumps
Carburetors
Fuel filler caps
Carburetor/fuel tap repair kits
Fuel system connections
Fuel lines
Fuel taps
Fuel tanks
Fuel system seals
Filters
Air filters
Fuel filters
Oil filters
Body elements
Handlebars
Steps (footrests)
Shifters
Framework
Guards and fairings
Seats
Hand guards
Bumpers
Mirrors
Wheels, rims, tires, inner tubes
All Balls front and rear wheel nuts
YAMAHA YFM GRIZZLY KODIAK WHEEL STAINS AND NUTS
Front/rear wheel axle nut studs All Balls Kawasaki KVF 650
Exhaust system
Exhaust gaskets
Exhaust manifolds
Silencers
Muffler covers
Cooling system
Fans
Coolers
Semiconductors
Integrated Circuits - ICs
Embedded Processors & Controllers
Microcontrollers - MCU
Discrete Semiconductors
Transistors
Bipolar Transistors - BJT
Darlington Transistors
Digital Transistors
IGBT Modules
IGBT Transistors
JFET
MOSFET
RF Transistors
Diodes & Rectifiers
Schottky Diodes & Rectifiers
Bridge Rectifiers
PIN Diodes
Diodes - General Purpose, Power, Switching
Current Regulator Diodes
TVS Diodes
Rectifiers
Zener Diodes
Varactor Diodes
Discrete Semiconductor Modules
Thyristors
SCRs
Triacs
Trailer & Semi Trailer Parts
Camping
Equipment
Suspension system
Marquesas
Electrical system
Kitchen equipment
Parts
Mirrors
Atria
Stairs and steps
Gas installation
Windows
Trailer furniture
Hoses and pipes
Water containers
Water instalation
Ventilation
Vehicle lighting
Feet, supports, pads
Toilets and cleaning products
Solar panels
Castles
Support wheels
Water pumps
Seals
Braking system
Tourist lighting
Antennas
Door
Hello
Strips, covers
Rating plates
Freight
Parts
Equipment
Hello
The remaining
Forklift Parts
Filters
Lighting
Wheels, rims
Electrical system, ignition
Interior furnishings
Forks, work equipment
Steering system
Engine and accessories
DANPAL - Oil-resistant NBR O-ring
Suspension system
Hydraulic system
The remaining
engine cooling
Drive system
Fuel system
Body parts
Braking system
Heating, ventilation, air conditioning
Exhaust system
Connectors
Terminal Blocks
Terminal Block Tools & Accessories
DIN Rail Terminal Blocks
Pluggable Terminal Blocks
Fixed Terminal Blocks
Barrier Terminal Blocks
Terminal Block Interface Modules
Wire & Cable
Wire & Cable Management
Cable Glands, Strain Reliefs & Cord Grips
Cable Ties
Grommets & Bushings
Conduit Fittings & Accessories
Wire Ducting & Raceways
Cable Mounting & Accessories
Heat Shrink Tubing & Sleeves
Cable Tie Mounts
Cable Assemblies
Sensor Cables
USB Cables
Ethernet Cables
Rectangular Cable Assemblies
Audio Cables
Specialised Cables
Fan Leads & Accessories
RF Cable Assemblies
D-Sub Cables
Computer Cables
DC Power Cords
Fibre Optic Cable Assemblies
AC Power Leads
FFC
FPC Jumper Cables
Coaxial Cables
Flat Cables
RF Interconnects
RF Connectors
Coaxial Connectors
RF Terminators
RF Cable Assemblies
RF Adapters
RF Adapters - Between Series
RF Adapters - In Series
RF Adapters - Tee
RF Connector Accessories
Terminals
MIL-Spec
MIL-Type
Circular MIL Spec Connectors
D-Sub Mil Spec Connectors
Power Connectors
Heavy Duty Power Connectors
AC Power Entry Modules
Power to the Board
AC Power Plugs & Receptacles
DC Power Connectors
USB Connectors
Motorcycle Parts
Body Parts
Handlebar Ends & Weights
Clutch and brake levers
Filters
Oil filters
Air filters
Fuel filters
Filter housings
The remaining
Other
1xElectronic components
Anti-Static
ESD
Clean Room Products
Electronic components
Anti-Static
ESD
Audio Products
Buzzer Elements, Piezo Benders
Alarms, Buzzers, and Sirens
Microphones
Accessories
Speakers
Alarms
Buzzers
Buzzer Elements
Piezo Benders
Battery Products
Battery Holders, Clips, Contacts
Battery Product Accessories
Batteries Non-Rechargeable (Primary)
Batteries Rechargeable (Secondary)
Cigarette Lighter Assemblies
Battery Packs
Battery Chargers
Battery Holders
Clips
Cable AssembliesBetween Series Adapter Cables
Cable AssembliesBarrel Connector CablesBarrel Power Cables
Cable AssembliesBarrel Connector CablesBarrel Audio Cables
Cable AssembliesCircular Cable Assemblies
Cables
Wires - Management/Cable Ties and Zip Ties
Wires - Management/Markers
Wires - Management/Cable Supports and Fasteners
Wires - Management/Heat Shrink Boots
Caps
Wires - Management/Accessories
Wires - Management/Heat Shrink Tubing
Wires - Management/Cable Ties - Holders and Mountings
Wires - Management/Labels
Labeling
Wires - Management/Cable and Cord Grips
Wires - Management/Protective Hoses
Solid Tubing
Wires/Single Conductor Cables (Hook-Up Wire)
Wires - Management/Solder Sleeve
Wires/Multiple Conductor Cables
Wires/Flat Ribbon Cables
Wires - Management/Bushings
Grommets
Wires - Management/Wire Ducts
Raceways
Wires - Management/Spiral Wrap
Expandable Sleeving
Wires/Coaxial Cables (RF)
Wires - Management/Grounding Braid
Straps
Wires/Modular - Flat Cable
Wires/Fiber Optic Cables
Wires - Management/Fiber Optic Cables
Capacitors
Aluminum Electrolytic Capacitors
Capacitor Networks
Arrays
Film Capacitors
Aluminum - Polymer Capacitors
Tantalum Capacitors
Niobium Oxide Capacitors
Thin Film Capacitors
Tantalum - Polymer Capacitors
Accessories
Electric Double Layer Capacitors (EDLC)
Supercapacitors
Trimmers
Variable Capacitors
Mica and PTFE Capacitors
Cable Assemblies/Specialized Cable Assemblies
Cable Assemblies/Coaxial Cables (RF)
Cable Assemblies/Flat Flex Ribbon Jumpers
Cables
Cable Assemblies/Jumper Wires
Pre-Crimped Leads
Cable Assemblies/Rectangular Cable Assemblies
Cable Assemblies/Modular Cables
Cable Assemblies/Flat Flex Jumpers
Cables (FFC
FPC)
Cable Assemblies/Power
Line Cables and Extension Cords
Cable Assemblies/Solid State Lighting Cables
Cable Assemblies/USB Cables
Cable Assemblies/Pluggable Cables
Cable Assemblies/D-Sub Cables
Cable Assemblies/Fiber Optic Cables
Cable Assemblies/Video Cables (DVI
HDMI)
Cable AssembliesCoaxial Cables (RF)
Computer Equipment
Accessories
Adapters
Converters
Keyboards
Industrial Automation and Controls
Controllers
Industrial Automation Accessories
Pneumatics
Hydraulics
Panel Meters
Stackable Tower Lighting
Beacons
Robotics
Circuit Protection
Transient Voltage Suppressors (TVS)
PTC Resettable Fuses
Inrush Current Limiters (ICL)
Fuses
Varistors
MOVs
Fuseholders
Circuit Protection Accessories
Gas Discharge Tube Arresters (GDT)
Electrical
Specialty Fuses
Surge Suppression Ics
Lighting Protection
Thermal Cutoffs (Thermal Fuses)
Circuit Breakers
Crystals
Oscillators
Resonators
Development Boards
Kits
Programmers
Boxes
Enclosures
Racks/Card Guide Accessories
Racks/Card Rack Accessories
Racks/Box Accessories
Racks/Card Guides
Racks/Patchbay
Racks/Box Components
Racks/Rack Components
Racks/Boxes
Racks/Evaluation
Racks/Latches
Racks/Cams
Racks/Handles
Racks/Rack Accessories
Racks
Connectors
Interconnects
Rectangular Connectors
Pluggable Connectors
Barrel Connectors
Backplane Connectors
FFC
Blade Type Power Connectors
Coaxial Connectors (RF)
Circular Connectors
Contacts
D-Sub
Heavy Duty Connectors
Fiber Optic Connectors
Modular Connectors
Card Edge Connectors
Keystone Connectors
Banana and Tip Connectors
Memory Connectors
Photovoltaic (Solar Panel) Connectors
AC Power Connectors
Between Series Adapters
Shunts
Terminal Blocks
Solid State Lighting Connectors
Terminals
USB
Terminal Strips and Turret Boards
Sockets for ICs
Embedded Computers
Embedded Computer Accessories
Fans
Blowers
Thermal Management
Discrete Semiconductor Products
Transistors
Diodes
Thyristors
Current Regulation - Diodes
Transistors
Power Driver Modules
Inductors
Coils
Chokes
Filters
Common Mode Chokes
Feed Through Capacitors
Ferrite Beads and Chips
Cable Ferrites
RF Filters
EMI
RFI Filters (LC
Ferrite Disks and Plates
Ceramic Filters
SAW Filters
Monolithic Crystals
Power Line Filter Modules
Integrated Circuits (ICs)
Interface
Linear
Clock
Timing
Audio Special Purpose
Embedded
Data Acquisition
Power Management (PMIC)
Memory
Logic
Specialized ICs
Cable Assemblies
Flat Flex Jumpers
Cables (FFC
Jumper Wires
Pre-Crimped Leads
Flat Flex Ribbon Jumpers
Cables
Barrel Connector Cables
Between Series Adapter Cables
Fiber Optic Cables
D-Sub Cables
Line Protection
Distribution
Backups
Networking Solutions
Accessories
Miscellaneous
Optical Inspection Equipment
Motors
Actuators
Solenoids and Drivers
Maker
DIY
Educational
Memory - Modules
Cards
Memory Cards
Specialized
Labels
Signs
Barriers
Magnetics - Transformer
Inductor Components
Ferrite Cores
Bobbins (Coil Formers)
Optoelectronics
Laser Diodes
Modules
Lenses
LED Emitters - Infrared
UV
LED Indication - Discrete
LED White Lighting
LED Color Lighting
LED COBs
Engines
LED Dot Matrix and Cluster
LCD
OLED
OLED Character and Numeric
Optoelectronics Accessories
Display Backlights
LED Character and Numeric
Circuit Board Indicators
Arrays
LED Addressable
Specialty
Reflectors
Panel Indicators
Pilot Lights
Cold Cathode Fluorescent (CCFL) & UV Lamps
Lamp Replacements
LED Thermal Products
Spacers
Standoffs
Light Pipes
Fiber Optic Receivers
Incandescent
Neon Lamps
Fiber Optic Transmitters - Discrete
Remote Phosphor Light Source
Power Supplies - External
Internal (Off-Board)
AC DC Desktop
Industrial
AC DC Converters
DC DC Converters
LED Drivers
External
AC AC Wall Power Adapters
Relays
Solid State Relays (SSR)
Accessories
Relay Sockets
Power Relays
Over 2 Amps
Contactors (Electromechanical)
Automotive Relays
Reed Relays
I
O Relay Modules
Safety Relays
Signal Relays
Up to 2 Amps
High Frequency (RF) Relays
Prototyping
Fabrication Products
Solderless Breadboards
Adapter
Jumper Wire
Sensors
Transducers
Current Sensors
Encoders
Encoders - Industrial
Float
Force Sensors
Gas Sensors
Humidity
Magnetic Sensors
Magnets
Motion Sensors
Optical Sensors
Position Sensors
Pressure Sensors
Proximity Sensors
Sensor Cable Accessories
Sensor Cable Assemblies
Sensor
Solar Cells
Specialized Sensors
Temperature Sensors
Ultrasonic Receivers
RF and Wireless
RFI and EMI - Contacts
Fingerstock and Gaskets
RFI and EMI - Shielding and Absorbing Materials
RF Accessories
RF Shields
RF Transceiver ICs
RFID Antennas
RF Modulators
RF Directional Coupler
RF Transmitters
RF Demodulators
RF Front End (LNA + PA)
RF Detectors
Subscriber Identification Module (SIM) Cards
Soldering
Desoldering
Rework Products
Tapes
Adhesives
Materials
Resistors
Chip Resistor - Surface Mount
Resistor Networks
Arrays
Chassis Mount Resistors
Accessories
Specialized Resistors
Switches
Accessories
Selector Switches
Pushbutton Switches
Accessories - Boots
Seals
Accessories - Caps
Configurable Switch Components
Toggle Switches
Slide Switches
Rotary Switches
Keylock Switches
Tactile Switches
Limit Switches
Thumbwheel Switches
Rocker Switches
DIP Switches
Magnetic
Reed Switches
Uncategorized
Unclassified
Transformers
Audio Transformers
Power Transformers
Pulse Transformers
Current Sense Transformers
Switching Converter
SMPS Transformers
Accessories
Specialty Transformers
Tools
Abrasives and Surface Conditioning Products
Tweezers
Specialized Tools
Accessories
Wire Strippers and Accessories
Insertion
Extraction
Crimpers
Applicators
Screwdrivers
Nut Drivers and Sets
Wrenches
Personal Protective Equipment (PPE)
Knives
Scissors
Heat Guns
Torches
Dispensing Equipment
Wire Cutters
Socket and Socket Handles
Hex
Torx Keys
Excavators
Hooks
Chemicals
Cleaners
Test and Measurement
Test Points
Test Leads
Test and Measurement Accessories
Test Probe Tips
Industrial Supplies
HVAC
Potentiometers
Variable Resistors
Rotary Potentiometers
Trimmer Potentiometers
Accessories
Adjustable Power Resistor
Slide Potentiometers
Thumbwheel Potentiometers
Power Supplies - Board Mount
DC DC Converters
Board Mount Power Supply Accessories
LED Drivers
AC DC Converters
Hardware
Fasteners
Accessories
Isolators
Digital Isolators
Isolators - Gate Drivers
Optoisolators
Kits
Connector Kits
Heat Shrink Tubing Kits
Boat Parts
Assembly parts
Screws
Seals
Repair kits
Other parts and accessories
Equipment
Ropes
Snap hooks
Shekels
Thimbles
Armchairs, seats
Water instalation
Connections
Drains
Snakes
Toilets
Taps
Pumps
Showers
Tanks
Electrics and lighting
Switches
Sockets and plugs
Starters
Lighting
Batteries
Power unit
Engines and accessories
Gears
Propellers
Electronics and navigation
Sensors and indicators
Fuel system
Cables
Connectors
Pumps
Filler caps
Tank vents
Tanks
Yacht household appliances
Filters
Control system
Tendons
Shifters
Anchoring and mooring
Reflectors
Winches
Anchors
Online only
Hatz 1b20 1b30 tank vent 01534900
Reference
15014719766784
Brand
Hatz
£48.84
Quantity
Add to cart
In stock:
5 Items
Description
Product Details
Description
HATZ 1B20 1B30 1B40 tank vent 01534900
Item description:
Producer - German company HATZ.
Catalog number: 01534900
Application: HATZ engines 1B20 1B30 1B40 1B50
Item no. 7 from the catalog card
Original part, brand new.
The price is for one piece.
Product Details
Brand
Hatz
Reference
15014719766784
MPN
01534900
In stock
5 Items
Condition
New
Data sheet
Manufacturer
Hatz
Part Number
01534900
Original part number
01534900
Machine Type
Generator (aggregate), Compactor
Machine Brand
Bomag, Wacker, Other
check_circle
check_circle